
Haywired on
the bench, circa 1995, Minneapolis

Today's package
|
Overview
|
A constant
work-in-progress... my approach to
using the
marvelous single-signal direct-conversion R2 receiver design in a
multiband,
modular amateur station.
In the top photo, you see
how
it was laid out, and
used, for
several years. Yes, a little haywire, but quite functional. The boxes
are
made from double-sided PC board material. The BNC jacks are a special
PC
board type that I found cheap at my local surplus house. They mount
with
4 ground pins and a center conductor pin, saving space.
Around
January 1, 2001, the driver, PA, and R2 went into
a
large flea-market cabinet with a hinged lid, so it looks neater and yet
can still be shown off and easily fiddled with. Microphonics and other
glitches are much reduced with a setup like this. The T2
exciter is in there
too,
but still not hooked up (it's the nicest-looking board, though...) The
digital age is dawning with a Hands DDS3 VFO coming my way; will this
go
in the cabinet or in a separate unit for a variety of uses? Decisions,
decisions. See below for some possible
upgrade
directions. |
The old
modular layout
|
Interconnections
were a combination
of Molex
connectors,
BNC's, clip leads, etc.
The modification of the
surplus Collins T-368
exciter
is a separately
documented
project in itself! This unit was available from Fair Radio Sales in
the early to mid 90's for about $45; many correspondents tell me this
source
has dried up. The basic PTO is 1.5-3 MHz, with multipliers to 3-6,
6-12,
and 12-24 MHz with a mechanical digital dial. Once transistorized, it
is
the most stable analog VFO I have ever used, mostly because it is built
so heavily. Others may wish to use various combinations of homebrew
VFO's,
multipliers, or pre-mixers, especially for portable use!
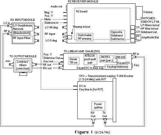
I
started out with boxes that combined input
filtering
and phase shifting. BNC connectors on both the input module and
the
R2 were on 3/4 inch center to center spacing, with a set of
male-to-male
BNC adapters remaining "resident" on the R2. I switched filters and
phasing
networks with one 4PDT slide switch. Rick's suggested "pi" phasing
network
in the R2 article is easy to deal with, tuned up predictably, and
worked
well. I think, though, with the haywired approach, there was more RF
radiation
than I might have wanted. I got by, but hum started to show up on the
high
bands (LO leaks out to an AC power line, gets modulated, and re-enters
the radio). Microphonics and not-perfectly-noiseless connections also
showed
up, but usually was tolerable. The photo below gives you an idea.
<>
LATER: I turned to the
twisted-pair quadrature
hybrid,
with greater bandwidth, and needing one less piece of iron to wind on.
In progress now is the "Quadrature Expressway", a surface-mount
approach
to making neat networks bandswitched with PIN diodes. Details
here.
The input filters are
standard 2-resonator
bandpass filters
found in various homebrew books. They're adapted to tune a range, using
dual 250 pF plastic variables (Mouser Electronics).
An approach to consider,
but now abandoned. |
|
|
The "front end" and audio amp of this board date back to
my first effort at the "iron-on toner transfer" method of PC board
etching - barely enough copper left, but it works! The original audio
quadrature section was cut out and replaced with Glen
Leinweber's circuit from the R2a. The circuit board on top
contains 2 74HC240 CMOS buffers to
generate square wave drive - a good idea in
theory, but in practice a bit unstable, so they're now bypassed. Note
the cool construction, though - semi-rigid .141" hardline soldered to
the board, and SMA connectors!
Rick's
R1 article has some precautions for
power connections.
Because of the high gain on one board, any circulating ground currents
generated by the output stage must be minimized. Therefore you don't
just
connect the DC negative lead to any old point on the chassis, but right
to the point where the output transistors are grounded. If you go him
one
better, and return the SPEAKER ground lead to this point also, you get
even more immunity to feedback. This means to insulate your output jack
from chassis ground (easy with PC board boxes: simply scrape some
copper
away).
In my new cabinet setup, I
chose to keep the
R2 board
completely insulated from the chassis, making it possible to experiment
with various grounding options to see if it makes any difference.
Call it overkill, but I found some high-level
mixers at a
hamfest, the
SRA-1H (+17 dBm LO drive, I think), and have used them for some time.
I don't have any preamps
or front-end filters in there right now, trusting in my transmatch and
transmitter lowpass filters to reject birdies. Eventually I'll get them
all switched in somehow. You usually can get by without the preamp up
to 20 meters, though 20 meters can use it sometimes. I find
no need for it on 40 meters and below.
When I've used preamps,
these are what I've tried:
1) Mini-Circuits
MAR-6 MMIC amp
-- 3dB noise
figure, 20 dB gain, 1 MHz-2 GHz bandwidth. It works well, but that's a
lot of gain, and its output 1 dB compression point is only 2.5 dBm. But
if you really want to listen down to the noise on a quiet band, or need
something that at least gets you a start on VHF premplification, it's
great.
A little kit is available: the WBA-6 ($19.95) from Electronic
Rainbow in Indianapolis.
2) A
2N4416 grounded-gate stage (fig. 3). I can't remember where I read
these
specs, but I believe it has about 4 dB noise figure, higher overload
margin,
and a more manageable 10 dB gain. A better choice for HF, though I
found
the gain at the high end rolled off (maybe I need a better-selected
transistor...)
My amplitude balance pot
is put on the front
panel, because
readjustment is required for each band. You will most often get
adequate
rejection of the opposite sideband with a reset from memory. Best
adjustment
requires a steady carrier or VERY strong signal. Your phasing networks
should only need to be adjusted once, unless you change your LO drive
in
some way.
See this modification list for information on small
tweaks in the filter designs specified. Another important mod: The capacitor in the mute
circuit should be
reduced to
.03 uF if you want fast recovery for full break in CW. The 0.1 uF
originally
specified means a good half-second recovery time - far from adequate
for a CW man!
I have switching for a CW
and SSB lowpass
filter -- and
can switch them both out! It's an interesting hi-fi sound to hear
signals
above 3 kHz. My ears hear to 10 kHz or greater in my hi-fi headphones,
serving as a mini spectrum analyzer. Strong shortwave broadcasters
sound
stunning this way. At high gain settings, though, you may get some
oscillation,
sometimes supersonic.
Switching out the highpass
filter is another
possible
option. At first I did it with some trace cutting on the original
board. With the changes made when the "R2a" circuit was added, it made
me think about playing around with some highpass filtering as well. So
I now have a 3-pole highpass filter , the inductors being wound on the
ferrite potcores Glen refers to in his writings. It's set to roll off
about 500 Hz to narrow the CW bandpass, and for voice modes it's just
bypassed. Audio switching, pots, and filtering are precariously hung
onto the front panel as displayed in the photo!
|
|
|
You
need plenty of LO power to drive the
diode mixers
and overcome the loss in the splitters. The original mixers need +7 dBm
minimum, and I have even gone with SRA-1H mixers (+17 dBm drive!). So
once
you split it for transmit and receive (3 dB loss), and then again for
phasing
(another -3 dB), you need to make up that loss with higher output from
your buffer.. The mixers generate harmonics, and even prefer a square
wave,
so don't bother with the low-pass filtering featured in some buffer
designs.
Any VFO you use needs a
varicap for CW and/or
RIT offset.
See the Lewallen Optimized QRP Transceiver (1994 ARRL Handbook, QRP
Classics)
for a good basic circuit. I implemented it this way in my T-368 exciter:
Pick the capacitor for the
right RIT range for
your needs.
Mine had to be big because the PTO operates at 1.5-3 MHz. Also be
creative
on your varicap diode. The NTE612 is designed as a varicap. But many
diodes
will work as varicaps. Lewallen suggested a zener diode. Try some old
rectifier
diodes in your junk box -- something that is likely to have a larger PN
junction than a fast switching diode.
Lewallen's RIT switching
is also OK as far as
it goes.
However, you can get offset above and below your frequency just like
the
big rigs with this circuit.
Pick the capacitors for
the right delay for
your needs.
Remember that when you unkey, the VFO needs to stay at the transmit
frequency
long enough for the PA output to decay.
The RIT pot is on your
front panel, of course.
Pamper
yourself and use a 10-turn pot -- you won't regret it. The transmit
centering
can be an internal trimpot, or a front panel control. If you wish, add
resistors on either end of the pot(s) to limit the tuning to the most
linear
part of the varicap's range. The SPDT switch removes RIT by keying the
circuit. On CW, you would turn off RIT (switch to ground) to spot an
incoming
signal to zero beat, then turn on the RIT and adjust the RIT pot for
your
preferred beat note. (With experience and an ear for pitch, you don't
need
to do this every time). On SSB, of course, you normally tune with RIT
off,
and turn it on only as needed. Remember also that the diodes at the
output
will be part of your VFO thermal stability concerns. As temperature
increases,
the forward voltage drop goes down, thus the voltage increases, and
your
VFO frequency will creep up. To some degree this compensates for the
way
the varactor diode behaves: it creates a frequency drop with increasing
temperature (increasing capacitance).
A very interesting
document on the fine points on
tuning diode
temperature compensation, is the old Motorola bulletin AN847 - with today's fancy synthesizers it's
marked as an "archive" document, but us conservative hams still using
varicap diodes can still benefit from it.
|
|
|
The
standard homebrew/QRP books give you
plenty of circuit
specifics here. Typically, your keying circuits use a positive voltage
that is pulled to ground to transmit.
In my first iteration,
blocked out above, I
started with some driver gain blocks, and the final based on the
"10-watt
linear
amplifier" (2 NTE236's) described by W1FB in the QRP books, with a more
elaborate bias regulator.
Funny, that PA never
worked quite right. But
eventually,
I found my way to the circuit's roots: Motorola's
classic old
application note AN779.
Turns out Doug's circuit was the second half of this. I built it up in
my own haywire fashion, and it gave out a good 15 watts... but was
never
quite stable. Then after a few years of using this, I hit on the
ingenious
and unique idea of using the board layout provided in the app note -
and
it worked flawlessly! Lesson: good layout does the trick, and if
somebody's done the work for you, don't re-invent the wheel. So here it
is:
It's a nice little 20 watt
amp design - 2
MRF476 drivers,
and 2 MRF475 output devices, both in push-pull. (These devices are no
longer
made, so I used the NTE235 and NTE236.) I found the biasing a bit
problematic,
wasting a ton of current to heat a resistor through a diode, and even
letting
the transistors go into thermal runaway! So I provided some adjustable
bias via pass transistors for both stages, based on the Ten Tec Argosy
once again. (All that stuff is slapped onto the heat sinks, which are
MUCH bigger than the small black metallic items specified in the
original.)
This is driven by a single
2N5109 linear stage
(right). The board at the right includes another little 2N5179 driver,
used earlier when more gain was needed - it's bypassed now.
TR
SWITCH.... That's on the small board attached to the left
of the PA. This is a
broadband circuit, needing 20 to 40 mA of total diode current. I went
as high as 60 mA to eliminate bleed through from a
50
kW AM broadcaster 5 miles away, thus the paralleled 330 ohm resistors.
330 ohms, 1/4 watt may be sufficient for many needs.
The DC switching part is
cobbled from some
circuit I read
somewhere, and modified. The IRF510 MOSFET is used for its high gate
impedance
and sharp switching characteristic, otherwise the capacitor (.47 uF)
that
holds the switch closed on key-up has to be outlandishly large. There
are
probably smaller MOSFETs available for such low-current switching, but
this one you can get at your local Radio Shack.
The RF switch itself is
drawn
from the Ten Tec
Argosy, and
handles that rig's 50 watts with ease. 1N4007's are 1 kV rectifier
diodes
that have a PIN structure; they operate satisfactorily, though they are
not rated for RF PIN service. The 1N914's rectify the transmitted RF to
back bias the diodes on transmit. At 5 watts, I have alsof had
satisfactory
results with 1N914's in the switching path; in this case you do not
need
the back-biasing circuit, because the fast switching diodes rectify
their
own back bias! I don't use the output transistor now, but I may try it
to cure some receiver audio pops at high volume levels. The chokes are
small molded ones at this power level; actually, the one on the
transmit
end could be eliminated if your DC return path is through an output
transformer
winding.

QRO? Well,
yes, sometimes...
waiting in
the wings is the 140 watt amplifier from Motorola
app note AN762 - via the kits from Communication
Concepts that you see advertised in QST. The amp is built and
tested
(without output filtering), but waiting for some more
time/patience/parts
to add output filters, switching, keying, ALC, etc. But the need for it
hasn't been too pressing, I've had so much fun at less than 20 watts...
|
| Transmitter
Filter Output Module |
This
is just a box with switch-selected
lowpass filters
of standard 50 ohm design for the various bands. |
|
|
My T2
exciter board is now built, and mounted
in my cabinet,
but not yet in use. Rick's suggestions for station integration are made
with VHF mountaintopping in mind. What other possibilities are there?
This is yet to be determined... One bottom line: a separate transmit
phasing network (forget trying to share them on receive and transmit,
according to the original article - too many variables)
One brainstorm... I would
make everything
switchable to get
every mode possible,
even if only just to say you can do it! Q INVERT would invert the audio
phase (with a unity gain opamp inverter) coming into the channel that
feeds
the 90 degree mixer. (I think this will work -- engineers?) IDISABLE
and
QDISABLE would break the audio inputs at X and Y on Rick's schematic --
or possibly at the input of the audio phase shift network. CARRIER
INSERT
would ground the key line, unbalancing the mixer that receives in-phase
LO energy. (See switching circuits below.)
Here then would be your
modes (check me,
engineers!)
|
Q
INVERT |
CARRIER |
I
DISABLE |
Q
DISABLE |
| SSB/CW |
off
USB, on LSB |
off |
off |
off |
| SSB/carrier |
off
USB, on LSB |
on |
off |
off |
| AM |
n/a |
on |
off |
on |
| PM
(NBFM) |
off |
on |
on |
off |
Below are proposed board
interconnections.
Only the DC
control lines are shown; RF connections should be obvious.
I hope all my diode
isolating logic is correct!
Strictly
speaking, you may not need to key anything in your transmit chain but
the
TR switch. However, you will save idling current on receive (and heat!)
in your linear amplifier stages if you key them and/or remove bias. |
|
|
Rick
Campbell, KK7B, “High-Performance
Direct-Conversion
Receivers”, QST, August 1992 (“R1”)
Campbell, “High-Performance,
Single-Signal
Direct-Conversion
Receivers”, QST, January 1993 (“R2”)
Mouser Electronics, 2401
Highway 287 North,
Mansfield,
TX 76063-4827, tel. 1-800-346-6873
Fair Radio Sales Co., PO Box
1105, 1016 E.
Eureka
St., Lima, OH 45802 tel 419-223-2196
Doug Demaw, W1FB, “A
Diode-Switched
Band-Pass Filter”,
QST, January 1991
Wes Hayward, W7ZOI, and Doug
DeMaw, W1FB,
“Solid
State Design for the Radio Amateur”, ARRL
Doug DeMaw, W1FB, “W1FB’s Design
Notebook”, ARRL
Motorola Documentation
Library
Motorola Literature
Distribution Center - includes the archived old stuff
Freescale Semiconductor (was
Motorola Semiconductor) - List
of RF design application notes |
|
|
- Time to go digital... a Hands
Electronics DDS3 DDS VFO kit was completed about Jan. 2003, which
can generate
the LO and provide some bandswitching TTL signals for the stuff below.
(Sheldon Hands retired to Portugal, so I hear, and his site is no
longer up - some leftovers are available at Kanga US.
- But boy, there's more DDS kit activity out
there than you can shake a stick at, for a lot less than I paid for the
above - take a look at www.amqrp.org
for some great stuff. I've got the MS-DDS controller, a DDS
daughtercard, and an HC908 daughtercard for future experiments. And the
ultimate digital cookbook is the Micro908 Antenna Analyzer on that
page. With a 0-30 MHz DDS, a DSP module, display, SWR bridge, keyboard
input, etc, it can turn into lots of things, maybe a complete rig
control setup. Kit is being built now.
- Back to the superhet? Using the R2 at a
single-frequency high IF (about
100 MHz) and upconverting with a 100-150 MHz VCO locked to the DDS3 kit
above (via a mixing loop)
- The "Quadrature
Superhighway" - a neater and tidier way to bandswitch the RF
phasing
networks with a three-lane microstrip setup and PIN diodes. Inspired by
my recent purchase of some SMA connectors and some semi-rigid .141 inch
coax plumbing at a hamfest... the high-tech way to implement the
old-tech
band-by-band approach ...
- Input filter bandswitching and/or tuning with
PIN and/or varactor diodes
- Slick interconnection
for modules...I keep eyeing a neat connector
option
available available from Mouser Electronics. They stock a mixed-contact
D-subminiature connector system in various configurations. Depending on
the specific model, you can get various combinations of small built-in
pins for DC lines, and larger contacts (snap-in options) for 50 or 75
ohm
ohm coaxial, high voltage, or high current leads. True elegance!
|
|
The Author
|
John
Seboldt, K0JD, began hamming as WN0QXG in about 1967. Music,
electronics,
and ham radio grew side by side in his youth, leading to work in the
broadcast
industry while studying music at Luther College, Decorah, IA, and The
University
of Iowa, Iowa City. Church music has been his main field -- he served
15 years
in the Twin Cities, and moved to Milwaukee in 1999. (Check out samples
of his music work at churchmusic.seboldt.net).
For now, technology has again claimed his working hours: at Time Warner Cable he's a
Broadband Technician, having worked in the cable industry since 2001.
E-mail me at k0jd at
seboldt
dot net (note spamfoil format - retype as standard address :-) )
|
|